TITLE 77: PUBLIC HEALTH
CHAPTER I: DEPARTMENT OF PUBLIC HEALTH
SUBCHAPTER r: WATER AND SEWAGE
PART 890 ILLINOIS PLUMBING CODE
SECTION 890.APPENDIX B ILLUSTRATIONS FOR SUBPART A



Section 890.APPENDIX B   Illustrations for Subpart A

 

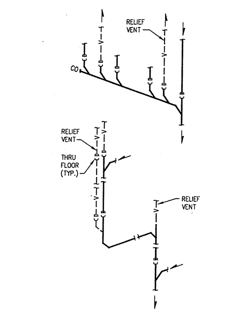
Section 890.ILLUSTRATION S   Relief Vent

 

(Referenced in Section 890.120, Definition of "Relief Vent.")

 

B-S